Hola a todos, navegando por la red casualmente me encontré con esta antena:
http://www.hurontel.on.ca/~gmoogk/MULTI.htm
será cuestión de probar para ver si funciona.
73, Jaime
Hola,
De eso hablamos en otro hilo;
http://www.ure.es/foro/6-tecnico/220301-una-de-antenas.html#247450

73, Máximo - EA1DDO
Máximo Martín - EA1DDO / HK1H / M0HAO
EA1DDO@HoTMaiL.com
http://www.EA1DDO.es
Hola ,no es otra cosa que una open sleeve con forma de ground plane
EB3DYO.
FRANCISCO.
Hola,
Ya encontré el hilo que no localizaba el otro día;
http://www.ure.es/foro/5-vhf-uhf/223938-open-sleeve.html#281194
73, Máximo - EA1DDO
Máximo Martín - EA1DDO / HK1H / M0HAO
EA1DDO@HoTMaiL.com
http://www.EA1DDO.es
Buenas tardes,
Felicidades Máximo por alcanzar con tu mensaje nº 5.555 todo un record. Espero que algún día nos expliques de donde sacas el tiempo para cacharrear, ensayar, escribir, publicar y estar a un paso de figurar en el libro Guinness.
¡Chapó!
73
José Luis, EA4EWT
Ni controlo, ni cronometro, ni po....s en vinagre, pero por respeto y educación siempre respondo.
Hola,
José Luis, ni cuenta me había dado.
Lo que pasa es que desde hace unos años trabajo sentado delante de un ordenador (o varios), y siempre hay momentos libres o días con menos trabajo y de ahí que esté activo por estos lares.
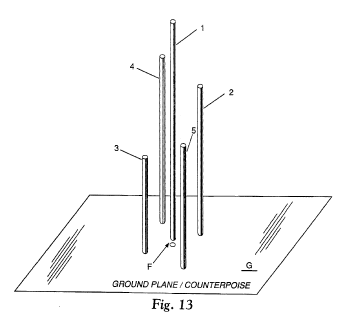
A todo esto, yo venía para poner una imagen referente a la del principio de este hilo;
¿Veis algún parecido?
Es una imagen de la patente de K9AY sobre "Coupled Resonators".
73, Máximo - EA1DDO
Máximo Martín - EA1DDO / HK1H / M0HAO
EA1DDO@HoTMaiL.com
http://www.EA1DDO.es
parecido total,todas las antenas pueden variar la marca,pero todas se copian , pueden variar material pero poco mas, hoy dia CASI TODO ya esta inventado solo se evoluciona de cosas antiguas puestas al dia de tecnologia mas o menos EB3DYO FRANCISCO
EB3DYO.
FRANCISCO.
QDURE - https://qsl.ure.es
Imprime y confirma tus QSL en tan solo tres click.
Nunca fue tan fácil y cómodo
el confirmar tus contactos.
TIENDA ONLINE URE
Publicaciones, mapas, polos, camisetas, gorras, tazas, forros polares y mucho más...
WEBCLUSTER EA4URE
Conoce el nuevo WebCluster de URE, ahora con nuevos filtros e información y compatible con GDURE


